Einleitung

Die Zuverlässigkeit ausgedehnter Automatisierungs- oder Kommunikationssysteme ist ein Thema von zunehmender Bedeutung. Die Zuverlässigkeit kann durch in Kabel eingekoppelte Störungen beeinträchtigt werden. Speziell in frühen Planungsstadien solcher Systeme ist es erforderlich, mittels einer Simulation die zu erwartenden Störströme und Störspannungen zu berechnen. Zur Durchführung einer solchen Berechnung müssen neben den primären Leitungsbelägen R', L', C' und G' der betrachteten Leitungen im Fall von geschirmten Leitungen deren komplexe Transferimpedanz und Transferadmittanz bekannt sein. Besonders bei Mehrfachleiterkabeln ist die Bestimmung der Transferimpedanzen und Transferadmittanzen der einzelnen Innenleiter über theoretische Berechnungen noch immer problematisch, so daß die Bestimmung der genannten Parameter über Messungen erfolgen muß.

Definition der komplexen Transferimpedanz

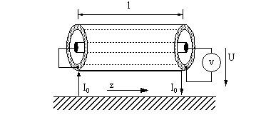
Sobald sich ein geschirmtes Kabel in einer Umgebung befindet, in der z.B. durch Feldeinfall oder andere Interferenzphänomene ein Störstrom auf den Kabelschirm eingespeist wird, hat dieser Störstrom eine Störspannung auf dem (den) Innenleiter(n) des Kabels zur Folge. Die diese Einkopplung beschreibende Größe ist die Transferimpedanz Z' T . Die Transferimpedanz eines Koaxialkabels ist als längengezogene, komplexe Größe definiert als das Verhältnis der Störspannung auf dem Innenleiter U zu dem Störstrom auf dem Kabelschirm I 0 .
Die Transferimpedanz ist somit ein Gütemaßstab für den Kabelschirm. Je geringer die Transferimpedanz ist, desto besser ist die Schirmwirkung des Kabelschirms. Da der Schirmstrom keine Größe ist, deren Definition von der Umgebung des Kabels abhängt, stellt die Transferimpedanz eine reine Kabelkenngröße dar.
Schematische Darstellung zur Definition der Transferimpedanz
Das dargestellte Spannungsmeßgerät sollte ideal sein, d.h. über einen unendlichen Innenwiderstand verfügen, um zu verhindern, daß die Spannungsmessung durch einen auf dem Innenleiter fließenden Strom verfälscht wird.

 
Die Definition von Z' T ist weiterhin nur für einen über die Leitungslänge konstanten Störstrom gültig. Die im Bild gezeigte Leitung muß also elektrisch kurz sein. Dies bedeutet, daß die Wellenlänge des Störstromes I 0 wesentlich größer als die Leitungslänge l sein muß.
Um die Transferimpedanz in die Leitungstheorie integrieren zu können, ist es notwendig, sie als differentielle Größe zu definieren
Auch hier gilt, daß der auf dem Innenleiter fließende Strom Null sein muß.
Die physikalischen Einkopplungsmechanismen, die zur Entstehung der Störspannung auf dem Innenleiter führen, und in den folgenden Abschnitten näher erläutert werden, sind:

- Die Diffusionskopplung, die als frequenzabhängige Änderung des elektrischen Feldes längs der Innenseite des Kabelschirms beschrieben werden kann.

- Die Aperturkopplung, die den Durchgriff des magnetischen Feldes des Störstroms durch Öffnungen im Kabelschirm beschreibt.

- Die Geflechtkopplung, die nur bei Kabeln mit einem Geflechtschirm auftritt und ebenfalls als magnetische Kopplung wirkt.

In der Literatur existiert eine Vielzahl von Modellen, die diese Einkopplungsmechanismen mit den geometrischen und elektrischen Eigenschaften des Kabelschirms verknüpfen und so die Transferimpedanz als Funktion der Eigenschaften des Kabelschirms darstellen. Bisher ist allerdings kein vollständig analytisches Modell bekannt, das sowohl alle Einkopplungsmechanismen berücksichtigt, als auch meßtechnisch über einen größeren Frequenzbereich verifiziert wurde. Dies gilt insbesondere für den Phasenverlauf der Transferimpedanz.

Weiterhin wird die Transferimpedanz als Superposition der Wirkungen der Einkopplungsmechanismen

aufgefaßt, wobei der Term D' T die Diffusionskopplung, der Term M' H die Aperturkopplung und der Term M' B die Geflechtkopplung beschreibt.

Diffusionskopplung

Zur Betrachtung der Diffusionskopplung wird der Geflechtschirm eines Koaxialkabels vereinfachend als homogener Hohlzylinder bzw. Rohr konstanten Querschnitts und konstanter Wandstärke angenommen. Da beim Hohlzylinder Apertur- und Geflechtkopplung nicht auftreten können, wird die Transferimpedanz lediglich durch den Term D' T ausgedrückt. Im Bild wird der Hohlzylinder durch den Außenradius r a und die Wandstärke d beschrieben. Das Material besitzt die spezifische Leitfähigkeit k und die Permeabilität m .
Aus einem massiven Hohlzylinder bestehender Kabelschirm
Im Fall eines Gleichstroms als Störstrom I 0 ergibt sich eine Transferimpedanz, die dem Gleichstromwiderstandsbelag des Hohlzylinders R' DC entspricht.
Bekanntermaßen erfolgt bei steigender Frequenz des Störstroms durch die Selbstinduktion im Leiter eine Verdrängung des Stromes zur Außenseite des Hohlzylinders hin. Dieser auch als Skin-Effekt bezeichnete Mechanismus wird durch die äquivalente Leitschichtdicke d charakterisiert, die auch als Skin-Eindringtiefe bezeichnet wird.
Die Skin-Eindringtiefe gibt an, in welcher Entfernung von der Oberfläche eines stromdurchflossenen Leiters die Stromdichte auf den 1/e-ten Teil des Oberflächenwertes abgesunken ist.
Die Transferimpedanz eines homogenen Hohlzylinders, bei dem lediglich die Diffusionskopplung, also nur der Term D' T , einen Beitrag liefert, ist:
Der Betrag des Diffusionsterms nimmt mit steigender Frequenz ab, sobald die Skin-Eindringtiefe die Wandstärke unterschreitet. Das Bild zeigt den berechneten Verlauf von D' T , der zur besseren Darstellung auf 1  W /m normiert ist, für einen Kupfer-Hohlzylinder einer Wandstärke von 0.1 mm.
Berechneter Verlauf von D' T , normiert auf 1 W /m, mit m = m 0 , k =56 . 10 6  S/m und d=0.1 mm

Aperturkopplung

Befinden sich Aperturen im Kabelschirm, was bei Kabeln mit Geflechtschirm der Fall ist, kann das von dem auf dem Kabelschirm fließenden Störstrom herrührende Magnetfeld durch die Aperturen in das Innere des Kabels hindurchgreifen. Das Bild zeigt schematisch die durch die Apertur hindurchgreifenden Magnetfeldlinien, die in zwischen dem Innenleiter des Koaxialkabels und der Innenseite des Kabelschirms eine Störspannung U s induzieren.
Magnetfelddurchgriff durch eine Apertur im Kabelschirm nach
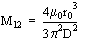
Bei einer kreisförmigen Apertur ergibt sich unter der Voraussetzung, daß die Wellenlänge des Störwechselstroms I 0 groß gegenüber dem Radius der Apertur r 0 ist und die Dicke des Kabelschirms gegenüber dem Kabeldurchmesser D vernachlässigt werden kann, nach die Gegeninduktivität der Apertur M 12 als:
,
wobei U s =j w M 12 I 0 gilt. Somit entspricht M 12 als längenbezogene Größe M' 12 =M 12 /l dem Term M' H . Für n Aperturen pro Längeneinheit gilt also M' H = n M' 12 . Da die Gegeninduktivität der Aperturen kubisch mit dem Aperturradius wächst, ist zu erkennen, daß es bei einer gegebenen Gesamtfläche aller Aperturen eines betrachteten Kabelabschnittes günstiger ist, wenn eine große Anzahl Aperturen geringen Radiuses vorhanden ist, als wenn eine geringe Anzahl Aperturen eines größeren Radiuses vorhanden wäre.
Ein Geflechtschirm, wie er im Bild schematisch dargestellt ist, besitzt rhombusförmige Aperturen. Mit dem Durchmesser einer einzelnen Geflechtlitze d, der Anzahl von Litzen pro Flechtgruppe n, der Gesamtanzahl aller Flechtgruppen N, der Breite, die eine Flechtgruppe zusammen mit der Apertur einnimmt W und dem Flechtwinkel a kann nach zunächst der Füllfaktor F und die optische Bedeckung K berechnet werden:
Schematische Darstellung eines Geflechtschirms
Weiterhin wird kann eine Näherungslösung für M' H , die den Winkel der rhombusförmigen Aperturen gegenüber der Kabelachse berücksichtigt und die Rhombenform durch eine Ellipse approximiert, angegeben werden:
K(e) und E(e) stellen hierbei die bestimmten elliptischen Integrale erster und zweiter Gattung in der Legendreschen Normalform F(e, p /2) und E(e, p /2) dar.

Geflechtkopplung

Bei einem Geflechtschirm befinden sich die Litzen einer Flechtgruppe auf einem Abschnitt des Kabels auf der Außenseite des Schirms und auf einem folgenden Abschnitt auf der Innenseite des Schirms. Die aus dieser geometrischen Besonderheit des Geflechtschirms resultierende Störeinkopplung auf die Innenleiter wird als Geflechtkopplung, in der englischsprachigen Literatur auch porpoising (effect)" genannt, bezeichnet. Diejenigen Flechtgruppen, die sich auf einem betrachteten Kabelabschnitt auf der Innenseite des Schirms befinden, werden im folgenden als innere Lage des Schirms bezeichnet. Die Flechtgruppen, die sich auf diesem Abschnitt auf der Außenseite des Kabelschirms befinden, bilden die äußere Lage des Schirms.
Das Bild zeigt zur Veranschaulichung der Geflechtkopplung Längs- und Querschnitt eines geflechtgeschirmten Kabels, wobei zur vereinfachten Querschnitts-Betrachtung die innere und die äußere Lage als Hohlzylinder dargestellt sind.
Veranschaulichung der Geflechtkopplung:
a) Kabel-Längsschnitt b) Kabel-Querschnitt
Der gesamte auf dem Kabelschirm fließende Störstrom I 0 teilt sich in den Strom der inneren Lage I si und den Strom der äußeren Lage I sa auf. Wie im Bild dargestellt, induziert das von I si herrührende Magnetfeld H i zwischen dem Innenleiter und der äußeren Lage, die entlang des Kabels auch zur inneren Lage wird und somit auch einen Teil der Innenseite des Schirms darstellt, in eine Störspannung U s . Im Vergleich mit dem Bild der Aperturkopplung wird deutlich, das die Umlaufrichtung von H i um den Mittelleiter zu der für die Aperturkopplung dargestellten Umlaufrichtung entgegengesetzt ist. Es handelt sich bei der Geflechtkopplung in der angestellten Betrachtung also um eine induktive Kopplung mit einer zur Aperturkopplung entgegengesetzten Phase.
Das erste Modell für den auf die Geflechtkopplung zurückzuführenden Gegeninduktivitätsbelag ist:
Hierbei ist D m der mittlere Durchmesser des Kabels, h m der mittlere Abstand zwischen äußerer und innerer Lage und a der Flechtwinkel. Der Faktor a ist unbestimmt und bildet einen Teil des Korrekturterms zur Berücksichtigung der Feldschwächung von Hi  durch die in die äußere Lage induzierten Ströme.
Die Aufzählung, Kurzfassung und eventuelle Bewertung aller Publikationen, die die experimentelle Verifikation der Existenz der Geflechtkopplung zum Inhalt haben, würde den Rahmen dieser Arbeit sprengen. Wegen der teilweise unbefriedigenden Übereinstimmung zwischen den publizierten Meßdaten und der angegebenen Gleichung existiert eine Vielzahl von (semi-) analytischen Modellen.

Definition der komplexen Transferadmittanz

Durch Feldeinfall oder andere Interferenzen in der Umgebung eines Kabels kann auch eine Störspannung zwischen dem Kabelschirm und der Umgebung entstehen. Diese Störspannung hat einen Störstrom auf dem (den) Innenleiter(n) des Kabels zur Folge. Die diese Einkopplung beschreibende Größe ist die Transferadmittanz Y' T .
Schematische Darstellung zur Definition der Transferadmittanz
Die Transferadmittanz eines Koaxialkabels ist als längengezogene, komplexe Größe definiert als das Verhältnis des Störstroms auf dem Innenleiter I zu der Störspannung auf dem Kabelschirm U 0 , wobei die Spannung zwischen Innenleiter und Kabelschirm Null ist.
Die Definition der Transferadmittanz setzt eine über die Kabellänge l homogene Spannungsverteilung auf dem Schirm voraus. Die Leitungslänge muß also klein gegenüber der Wellenlänge sein. Bei einer leitungstheoretischen Simulationsrechnung oder Meßdatenauswertung ist die differentielle Definition der Transferadmittanz von Vorteil:
Weiterhin muß die Spannung U 0 definiert bleiben, der Abstand zwischen Kabel und Umgebung muß also klein gegenüber der Wellenlänge sein.

Aperturkopplung

Der wirksame Mechanismus dieser kapazitiven Einkopplung ist die Aperturkopplung. Das Bild zeigt schematisch den Verlauf der elektrischen Feldlinien, die durch eine Apertur des vereinfacht als Hohlzylinder dargestellten Kabelschirms hindurchgreifen.
Schematische Darstellungen zur Aperturkopplung:
a) Verlauf der elektrischen Feldlinien 
b) Kapazitätsbeläge und Geometrie
Der den elektrischen Felddurchgriff beschreibenden Kapazitätsbelag C' T einer einzelnen Apertur des Radiuses r 0 wird unter der Voraussetzung C' T <<C' in für ein radialsymetrisches Feld hergeleitetet als:
Hierbei repräsentiert C' den Kapazitätsbelag zwischen Innenleiter und Kabelschirm, C' 0 den Kapazitätsbelag zwischen Schirm und Umgebung sowie r a den Schirmradius.
Für Koaxialkabel deren Isolation des Innenleiters gegen den Schirm eine relative Permittivität e r1 ungleich eins aufweißt, sowie zur Berücksichtigung der effektiven relativen Permittivität im Bereich zwischen dem Kabelschirm und der leitfähigen Umgebung e r2 wird der Korrekturfaktor g vorgeschlagen
Der Einfluß mehrerer Aperturen überlagert sich linear. Stellt n die Anzahl der Aperturen pro Längeneinheit dar, kann die Transferadmittanz als
beschrieben werden.
Es wird deutlich, daß die Transferadmittanz keine reine Kabelkenngröße ist, da
sie von der Kapazität des Systems, das von dem Kabelschirm und der leitfähigen Umgebung gebildet wird, abhängt.